20: NO NAME@ニンテンドーニュース速報 2021/12/15(水) 14:38:25.19 ID:bMzuK4XV
引用元: https://krsw.5ch.net/test/read.cgi/ghard/1639545820/
2: NO NAME@ニンテンドーニュース速報 2021/12/15(水) 14:26:17.89 ID:dqjc2t1g0
こんなことまで特許取らんでも…とは思うが
白猫のこととかあるからナーバスになってるんかね
14: NO NAME@ニンテンドーニュース速報 2021/12/15(水) 14:33:23.12 ID:XEkf8Lo80
>>2
ゲーム業界に限らず特許はドンドン作るもんよ
セーブデータ認識してアイテム追加とかいう些細な物だって特許よ
3: NO NAME@ニンテンドーニュース速報 2021/12/15(水) 14:26:41.52 ID:Yzxxnwsm0
2つ目のやつはPVにあったビタロックの進化系みたいなやつかな?
4: NO NAME@ニンテンドーニュース速報 2021/12/15(水) 14:27:20.81 ID:NHHbJnWa0
自在に飛べるのか?
5: NO NAME@ニンテンドーニュース速報 2021/12/15(水) 14:27:26.37 ID:LE1yo81ya
最後のはPVでもやってたな
10: NO NAME@ニンテンドーニュース速報 2021/12/15(水) 14:31:19.20 ID:ES6vV7sD0

これなんだろう
516: NO NAME@ニンテンドーニュース速報 2021/12/16(木) 00:46:39.44 ID:LHYNysAS0
>>10
めり込み防止に使えそうな判定だな
浅い角度ですり抜け処理する場合に、すり抜けきらず途中で(エリア外方向も含み)自由に動ける状態になっちゃうバグを事前に防ぐとか
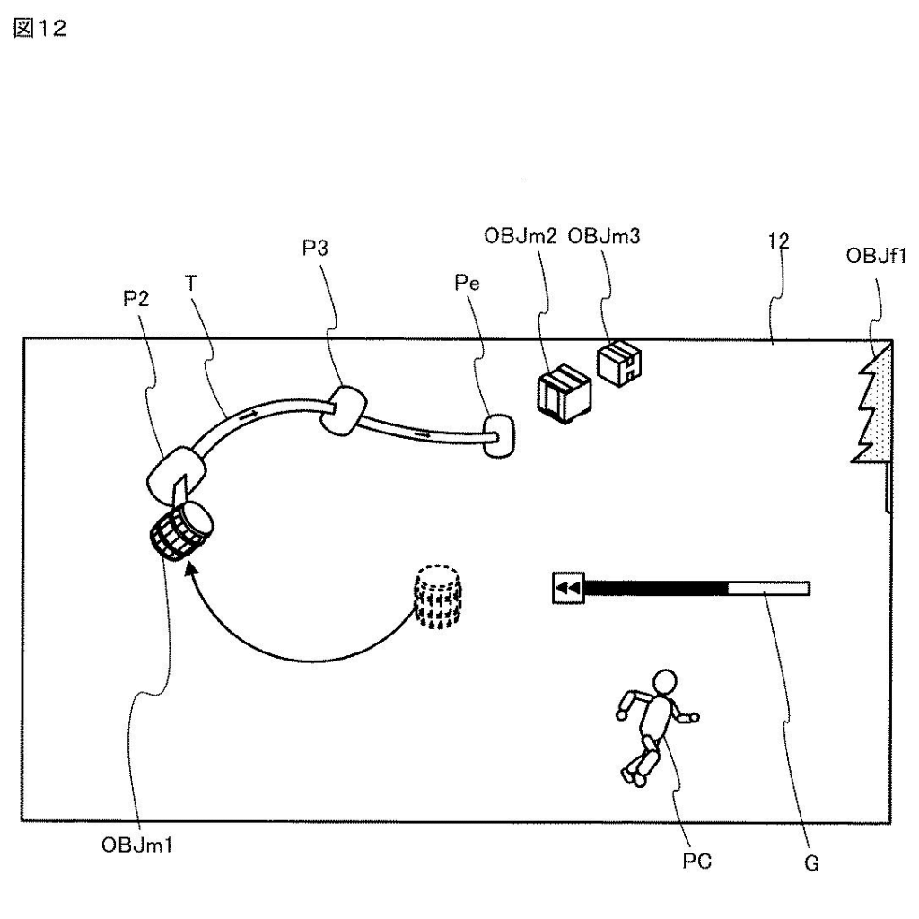
13: NO NAME@ニンテンドーニュース速報 2021/12/15(水) 14:33:12.18 ID:Yzxxnwsm0
こんなのもあった

477: NO NAME@ニンテンドーニュース速報 2021/12/15(水) 20:32:50.55 ID:2El8fb3C0
>>13
スカイウォードソードみたいな落下もできるんだな
482: NO NAME@ニンテンドーニュース速報 2021/12/15(水) 20:40:36.71 ID:fod4i9Qi0
>>13
2枚目パイロットウィングスだろw
15: NO NAME@ニンテンドーニュース速報 2021/12/15(水) 14:33:54.51 ID:HAzjObHE0
全部PVで披露されてる技術だな
・落下やパラセール時のカメラワーク
・時間の巻き戻し
・オブジェクト通過
PV見てから調べたんだろ?
21: NO NAME@ニンテンドーニュース速報 2021/12/15(水) 14:38:27.45 ID:2rWumn9lp
背面落下で空中戦とかやりそう
28: NO NAME@ニンテンドーニュース速報 2021/12/15(水) 14:42:56.79 ID:pAe7T1Jv0
空中で弓矢構えるとリンクの足元にカメラワークが移動するんだな
33: NO NAME@ニンテンドーニュース速報 2021/12/15(水) 14:44:22.12 ID:2CPR0uRz0
パラセールとすり抜けは本当にこのまま実装されてたらガチですごいな
37: NO NAME@ニンテンドーニュース速報 2021/12/15(水) 14:45:54.28 ID:2rWumn9lp
pvにあるし実装されてるでしょ
個人的にはグラップリングフックとかのが欲しいけど
43: NO NAME@ニンテンドーニュース速報 2021/12/15(水) 14:48:25.09 ID:pAe7T1Jv0
すり抜けはただのファストトラベルの演出だと思ってたけど違うっぽいな
52: NO NAME@ニンテンドーニュース速報 2021/12/15(水) 14:53:36.43 ID:Y7shdCzA0
こりゃあ とんでもないチャレンジだな・・・
前作はオープンワールドに滑空と高低差っていう革命的なシステムを入れてきたけど
今回は、オープンワールドに完全に立体的なギミックを入れるのか。
しかも前作の物理エンジンと組み合わせるんだろうし。
こりゃあ、調整がとんでもないことになるな・・・
そりゃあ 時間がかかるはずだ。
55: NO NAME@ニンテンドーニュース速報 2021/12/15(水) 14:54:47.14 ID:vPBFFgKr0
地面すり抜けられるのは良いな
これ使って地下から地上とかも行けるんじゃね
56: NO NAME@ニンテンドーニュース速報 2021/12/15(水) 14:55:05.51 ID:DFXF6y8N0

このpvど頭って演出なんかなと思ってたけど
ガチのゲームプレイ映像の可能性出てきたな
超高高度の空島から低空の空島まで降下してる最中なんだろうな
で上空の空島にはすり抜け機能ありの上昇で一気に移動
新作は本気で空中での戦闘をシステムに組み込んでるんだろうか
183: NO NAME@ニンテンドーニュース速報 2021/12/15(水) 16:04:03.80 ID:cXrEk5ck0
>>56
スカウォのリベンジだろうな
75: NO NAME@ニンテンドーニュース速報 2021/12/15(水) 15:01:33.14 ID:jpxyN5Fq0
天井すりぬけるやつはもしかしてワープポイントじゃなくて条件が揃えばどこでもできるみたいになるのか?
78: NO NAME@ニンテンドーニュース速報 2021/12/15(水) 15:02:52.42 ID:vPBFFgKr0
>>75
貫通ポイントが決められてるならそれはただのエレベーターだからな
この場合上にオブジェクトがある条件での特許だから
ある程度自由にできるモノなんじゃないかな
81: NO NAME@ニンテンドーニュース速報 2021/12/15(水) 15:03:33.45 ID:/ow4RXT2d
すげぇ要素沢山ありそうだな
まずあの規模のオープンワールドでオブジェクト巻き戻し機能も既にヤバいけど
121: NO NAME@ニンテンドーニュース速報 2021/12/15(水) 15:27:39.95 ID:y7yB0ziIM
技術力あるじゃん
186: NO NAME@ニンテンドーニュース速報 2021/12/15(水) 16:04:33.81 ID:hAUNWUAg0
これ何気に凄いな
空が新しい舞台になるとは分かってたけど、思ってた以上に空中での制動を作り込んでそうだ
202: NO NAME@ニンテンドーニュース速報 2021/12/15(水) 16:14:32.77 ID:z3FkXw8ga
あのPVの意味が特許見るとまるで変わってくるのがすげーわ
205: NO NAME@ニンテンドーニュース速報 2021/12/15(水) 16:15:06.97 ID:vHGXXAqt0
ブレワイ続編とかいいながら、全く違うゲームになってそう
時岡続編のムジュラみたいに
209: NO NAME@ニンテンドーニュース速報 2021/12/15(水) 16:16:29.86 ID:YK7AJOPW0
BotW続編はまだ2つの短いトレーラーを公開しただけだしまだ大ネタ隠してるんだろうな
そもそも正式タイトルすらネタバレになるっていうんで発表しないぐらいだし
212: NO NAME@ニンテンドーニュース速報 2021/12/15(水) 16:16:40.64 ID:vHGXXAqt0
いや楽しみだわ
来年は堪らんな
218: NO NAME@ニンテンドーニュース速報 2021/12/15(水) 16:18:51.77 ID:Y7shdCzA0
空を自由に飛べるゲームって今までなかったからね。
スカイウォードソード ブレワイも、空に拘ってたし。
これでオープンワールドをさらに1歩進めるわけか。
GTAとかどうすんだろ。
65: NO NAME@ニンテンドーニュース速報 2021/12/15(水) 14:58:07.23 ID:GwkIGzM80
こういうゲームのアクションに関わる根幹の探求に時間と人使えるのが任天堂の最たる強みだわな
[itemlink post_id=”33182″]