引用元: http://krsw.5ch.net/test/read.cgi/ghard/1523777986/
3: NO NAME@ニンテンドーニュース速報 2018/04/15(日) 16:42:31.48 ID:+AsEVEXHa
うおおおおおおおお!これはきたああたあ!
4: NO NAME@ニンテンドーニュース速報 2018/04/15(日) 16:43:40.52 ID:LhoLV8fNd
どう見ても知育玩具
6: NO NAME@ニンテンドーニュース速報 2018/04/15(日) 16:45:01.33 ID:YVkxoY870
>>4
どこのトイオだよ
どこのトイオだよ
5: NO NAME@ニンテンドーニュース速報 2018/04/15(日) 16:44:15.76 ID:DtXgc45n0
13: NO NAME@ニンテンドーニュース速報 2018/04/15(日) 16:50:06.92 ID:YVkxoY870
>>5
グーグルの組み立て式スマホ思い出した
グーグルの組み立て式スマホ思い出した
16: NO NAME@ニンテンドーニュース速報 2018/04/15(日) 16:52:55.06 ID:aCAGtLv80
>>5
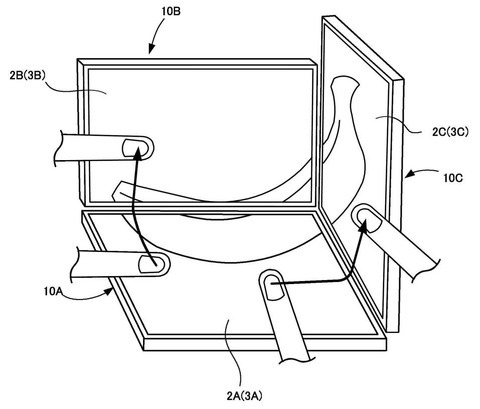
3画面!?
3画面!?
41: NO NAME@ニンテンドーニュース速報 2018/04/15(日) 17:09:16.20 ID:gh+RjcrN0
>>5
これはワクワクするな
これはワクワクするな
50: NO NAME@ニンテンドーニュース速報 2018/04/15(日) 17:17:54.83 ID:/q8GY/L5M
>>5
これ最終的に梱包して発送できそう
これ最終的に梱包して発送できそう
7: NO NAME@ニンテンドーニュース速報 2018/04/15(日) 16:46:10.54 ID:R1GJv1wN0
どっちの画面もタッチできるDSだと?
8: NO NAME@ニンテンドーニュース速報 2018/04/15(日) 16:46:14.44 ID:YVkxoY870
仮に出すとしたら2020年かな
折りたたみ液晶普及してるし
折りたたみ液晶普及してるし
9: NO NAME@ニンテンドーニュース速報 2018/04/15(日) 16:46:55.71 ID:YVkxoY870
無理に画面だけを増やすメリットってマジで無くね?
73: NO NAME@ニンテンドーニュース速報 2018/04/15(日) 17:38:02.67 ID:Ii7c69hc0
>>9
そうでもないぞ
フィールド画面
マップ
ステータス
と
みたい情報を即時確認はありがたい
そうでもないぞ
フィールド画面
マップ
ステータス
と
みたい情報を即時確認はありがたい
てか
世界樹6は コレに決まったな
87: NO NAME@ニンテンドーニュース速報 2018/04/15(日) 18:41:44.82 ID:ZPK6kBps0
>>9
世界樹とかシレンとかはもう二画面じゃなきゃ無理
世界樹とかシレンとかはもう二画面じゃなきゃ無理
114: NO NAME@ニンテンドーニュース速報 2018/04/15(日) 20:24:08.77 ID:jqQi6aDa0
>>9
人を囲めばVRだな
人を囲めばVRだな
10: NO NAME@ニンテンドーニュース速報 2018/04/15(日) 16:47:31.71 ID:/hRDm+qK0
稼動する液晶か
14: NO NAME@ニンテンドーニュース速報 2018/04/15(日) 16:51:39.62 ID:lNkVM/3F0
次世代機じゃなくてswitch複数数台使用に関する特許じゃないの
19: NO NAME@ニンテンドーニュース速報 2018/04/15(日) 16:54:09.19 ID:Cj8L0kQOa
>>14
例えばポケモン交換で本体並べて画面を指でスライドさせるだけで交換出来るとか
そういう特許だね
例えばポケモン交換で本体並べて画面を指でスライドさせるだけで交換出来るとか
そういう特許だね
77: NO NAME@ニンテンドーニュース速報 2018/04/15(日) 17:45:22.47 ID:FWc4YrLgp
>>19 の理解力がすごい
88: NO NAME@ニンテンドーニュース速報 2018/04/15(日) 18:43:03.32 ID:ZPK6kBps0
>>19
天才かよ。ありえそうですごい
天才かよ。ありえそうですごい
15: NO NAME@ニンテンドーニュース速報 2018/04/15(日) 16:52:37.88 ID:YVkxoY870
昔のゲーム片っ端からリメイクしてくれよ
18: NO NAME@ニンテンドーニュース速報 2018/04/15(日) 16:53:21.06 ID:yh0K6ybY0
複数台使用を想定したものかな?
43: NO NAME@ニンテンドーニュース速報 2018/04/15(日) 17:09:26.04 ID:l2jD5ecL0
>>18
もちより連動だと自分も思う
アケアカとかでダライアスがもちより同時プレイとかできるようになるといいのう
カプコンのD&Dが持ち寄り2画面4人同時できるのでたら嬉しい
もちより連動だと自分も思う
アケアカとかでダライアスがもちより同時プレイとかできるようになるといいのう
カプコンのD&Dが持ち寄り2画面4人同時できるのでたら嬉しい
21: NO NAME@ニンテンドーニュース速報 2018/04/15(日) 16:55:27.42 ID:sFgnOXr80
ニンテンドーラボ3弾だろこれ
22: NO NAME@ニンテンドーニュース速報 2018/04/15(日) 16:56:08.67 ID:YVkxoY870
もっと細かく液晶も分離出来るようになるのかな?
23: NO NAME@ニンテンドーニュース速報 2018/04/15(日) 16:56:45.88 ID:6ifWtkwG0
これがそのまま出るわけではないんだよね
スイッチが出る前、コントローラーが外せる特許が出て来たんだから
コンセプトが似たものが出る
スイッチが出る前、コントローラーが外せる特許が出て来たんだから
コンセプトが似たものが出る
25: NO NAME@ニンテンドーニュース速報 2018/04/15(日) 16:58:06.30 ID:jwrlITwIM
2画面とかコスト上がるか低品質な画面になるしソフト開発にも影響するからやめとけばいいのに
31: NO NAME@ニンテンドーニュース速報 2018/04/15(日) 17:01:48.75 ID:YVkxoY870
>>25
マジでコレ
Switchになってやっとマトモなモノが出来たと安心したわ
携帯機としたら破格のスペックだからなSwitch
マジでコレ
Switchになってやっとマトモなモノが出来たと安心したわ
携帯機としたら破格のスペックだからなSwitch
28: NO NAME@ニンテンドーニュース速報 2018/04/15(日) 16:59:31.04 ID:YVkxoY870
とりあえず任天堂はスマホを出せよ
これだけでも覇権不可避
これだけでも覇権不可避
32: NO NAME@ニンテンドーニュース速報 2018/04/15(日) 17:02:17.40 ID:kMN+V4sX0
Switchをリンクさせんのか
33: NO NAME@ニンテンドーニュース速報 2018/04/15(日) 17:03:08.49 ID:tyLVqhF60
ラボ路線の周辺機器だろ
40: NO NAME@ニンテンドーニュース速報 2018/04/15(日) 17:08:23.24 ID:6ifWtkwG0
コントローラーはどうするんだろう
51: NO NAME@ニンテンドーニュース速報 2018/04/15(日) 17:18:44.25 ID:AI1ZyHH60
始まったな
52: NO NAME@ニンテンドーニュース速報 2018/04/15(日) 17:20:04.68 ID:yWcBSsOs0
これは新ハードの特許とは違うね
スマホかSwitchのタッチパネルと画面に対応した技術かー
これで面白くなるゲームってどんなだろう
スマホかSwitchのタッチパネルと画面に対応した技術かー
これで面白くなるゲームってどんなだろう
106: NO NAME@ニンテンドーニュース速報 2018/04/15(日) 20:07:44.42 ID:gh+RjcrN0
3DSの後継機やっぱ欲しいよなー
switchだけじゃなくて携帯機も欲しい
switchだけじゃなくて携帯機も欲しい












